氣源處理件 — LF系列過濾器
| 型號及規格 | 接管口徑 Rc(G) | 過濾精度 | 最大流量 L/min(ANR) | 使用壓力范圍 MPa | 選項/說明 | |
| LF-MINI | 1 | 1/8" | 40gm | 1000 | 0.15?1.2 | 手動排水型(標準型) 環境及流體溫度:-5~60℃(未凍結) 油芯可選精度5 um |
| 2 | 1/4" | 1200 | ||||
| 3 | 3/8" | 1400 | ||||
| LF-MIDI | 2 | 1/4" | 1900 | |||
| 3 | 3/8" | 2700 | ||||
| 4 | 1/2" | 3000 |
圖形符號

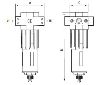
外型尺寸

| 型號及規格 | A | B | C |
| LF-MIDI-02 | 85 | 195 | 55 |
| LF-MIDI-03 | |||
| LF-MIDI-04 | |||
| LF-MINI-01 | 64 | 161 | 40 |
| LF-MINI-02 | |||
| LF-MINI-03 |